Магазин запчастей для бытовой техники - Arlos
Москва
close
Выберите ваш регион
АбаканАлександровАльметьевскАнгарскАрзамасАрмавирАртемАрхангельскАстраханьАчинскБалаковоБалашихаБеларусьБелгородБердскБерезникиБийскБлаговещенскБратскБрянскВеликий НовгородВидноеВладивостокВладикавказВладимирВолгоградВолгодонскВолжскийВологдаВолховВоркутаВоронежВоскресенскВыборгГатчинаГеленджикГрозныйДедовскДербентДзержинскДзержинскийДимитровградДмитровДолгопрудныйДомодедовоДонецкЕвпаторияЕгорьевскЕкатеринбургЕлецЕссентукиЖелезногорскЖелезнодорожныйЖуковскийЗеленоградЗлатоустИвановоИвантеевкаИжевскИркутскИстраЙошкар-ОлаКазаньКалининградКалугаКаменск-УральскийКамышинКаспийскКемеровоКерчьКировКисловодскКлинКовровКоломнаКомсомольск-на-АмуреКопейскКоролёвКостромаКотельникиКрасногорскКраснодарКраснознаменскКрасноярскКурганКурскКызылЛенинск-КузнецкийЛипецкЛобняЛыткариноЛюберцыМагнитогорскМайкопМалаховкаМахачкалаМиассМоскваМурманскМуромМытищиНабережные ЧелныНазраньНальчикНаро-ФоминскНахабиноНаходкаНевинномысскНефтекамскНефтеюганскНижневартовскНижнекамскНижний НовгородНижний ТагилНовокузнецкНовокуйбышевскНовомосковскНовороссийскНовосибирскНовоуральскНовочебоксарскНовочеркасскНовошахтинскНовый УренгойНогинскНорильскНоябрьскОбнинскОдинцовоОктябрьскийОмскОрелОренбургОрехово-ЗуевоОрскПавловский ПосадПензаПервоуральскПермьПетрозаводскПетропавловск-КамчатскийПодольскПрокопьевскПсковПушкиноПятигорскРаменскоеРеутовРостов-на-ДонуРубцовскРыбинскРязаньСакиСалаватСамараСанкт-ПетербургСаранскСаратовСевастопольСеверодвинскСеверскСергиев ПосадСерпуховСимферопольСмоленскСосновый БорСочиСтавропольСтарый ОсколСтерлитамакСтупиноСургутСызраньСыктывкарТаганрогТамбовТверьТихвинТольяттиТомилиноТомскТроицкТулаТюменьУлан-УдэУльяновскУссурийскУсть-ИлимскУфаУхтаФеодосияФрязиноХабаровскХанты-МансийскХасавюртХимкиЧебоксарыЧелябинскЧереповецЧеркесскЧеховЧитаШахтыЩелковоЭлектростальЭлистаЭнгельсЮжно-СахалинскЯкутскЯлтаЯрославль
  • - бесплатно по РФ
    Автоперезвон. Работает по принципу: Вы позвонили на номер, мы сбрасываем звонок и перезваниваем через 3 секунды.
  • - по Москве
  • 8 (925) 663-83-63

Call-центр

пн-вс: 10:00-19:00

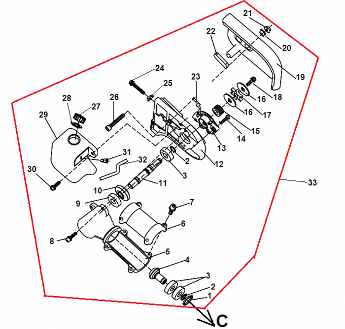
3 РЕДУКТОР ВЫСОТОРЕЗ CHAMPION PP126

NАртикулНазваниеСрок отгрузкиЦенаКупить
1 03010010057 Кольцо стопорное 28 5-7 рабочих дней
2 03120010002 Кольцо стопорное 12 5-7 рабочих дней
3 03090010020 Подшипник 6001-2RS 5-7 рабочих дней 100 р.
4 02020090120 Вал-шестерня редуктора 5-7 рабочих дней
5 80010040040 Корпус редуктора 5-7 рабочих дней 704 р.
6 80010060022 Крышка редуктора 5-7 рабочих дней 187 р.
7 03010010057 Болт М5х25 5-7 рабочих дней
8 03010010061 Болт М5х20 5-7 рабочих дней
9 03090010028 Подшипник 6001 5-7 рабочих дней 161 р.
10 02020090110 Шестерня редуктора 5-7 рабочих дней
11 02020090109 Вал редуктора 5-7 рабочих дней
12 80010040039 Плата корпуса редуктора 5-7 рабочих дней
13 02050130005 Маслонасос 5-7 рабочих дней 596 р.
14 03010060055 Болт М5х16 5-7 рабочих дней
15 02020090108 Червяк маслонасоса 5-7 рабочих дней 532 р.
16 02050110021 Шайба ведущей звездочки 5-7 рабочих дней
17 02050110020 Звездочка ведущая 5-7 рабочих дней 168 р.
18 03010030009 Болт М6х10 5-7 рабочих дней
19 70030030460 Крышка шины 5-7 рабочих дней 188 р.
20 02030030014 Втулка крышки шины 5-7 рабочих дней
21 03030050002 Гайка крепления крышки шины 5-7 рабочих дней
22 02080030033 Прокладка 5-7 рабочих дней
23 02080030031 Уплотнение шланга маслонасоса 5-7 рабочих дней
24 03010060050 Болт натяжения цепи 5-7 рабочих дней 24 р.
25 03030070063 Палец натяжения цепи 5-7 рабочих дней 51 р.
26 03010010034 Болт М6х40 5-7 рабочих дней
27 70030060132 Пробка масляного бака 5-7 рабочих дней 206 р.
28 02070020057 Кольцо уплотнительное пробки 5-7 рабочих дней
29 70050030103 Бак масляный 5-7 рабочих дней 446 р.
30 03020020052 Болт М5х20 5-7 рабочих дней
31 02080040010 Клапан сапуна 5-7 рабочих дней
32 01040010011 Шланг масляный 5-7 рабочих дней 180 р.
33 61270030085 Редуктор комплект 5-7 рабочих дней 9.231 р.
Найдено товаров: 33
1
▲ Наверх
0
8 (925) 663-83-63

Call-центр

пн-вс: 10:00-19:00

НАЙТИ ПО МОДЕЛИ
Введите номер заказа
Введите номер своего заказа, что бы узнать его текущий статус.
Что бы получить доступ к расширенным функциям, пройдите не сложную регистрацию. Зарегистрироваться